电脑行为快照,窗口管理器
软件介绍
今天推荐一款电脑行为快照,一款是窗口管理器。
第一款:行为快照
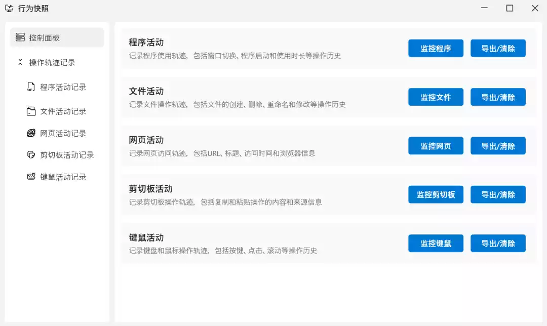
行为快照是一款能记录软件的程序使用轨迹、文件活动、网页活动、剪切板活动、键鼠活动的工具。

不过在监控前,需要点击监控按钮进行监控,比如我想监控程序,那么点击【监控程序】按钮开启监控即可。

然后你就可以看到程序使用时间、程序名称、程序路径、标题等等,甚至这款软件的使用时间它都会给你统计。

家有未成年的小伙伴,如果想知道未成年都浏览了些什么网页,可以用【网页活动记录】查看详细的情况,几点浏览,网址是什么,浏览的标题是什么,它都能详细的记录。

其他的文件活动记录、剪切板活动记录等等它都有一一的记录。

这款软件无毒无害,作者承诺完全免费,非常良心。
此外,软件依赖net9.0,如果没有安装net 9.0的小伙伴,文末获取软件的时候有给大家提供。
第二款:窗口管理器
由于我工作比较忙,有时候到点下班了还有工作,导致每次下班都匆匆忙忙的关机。
而如果打开的窗口少的话,关机还容易些;有时候打开的软件、文档、文件夹都有十几二十个,那要一一的关掉这些程序,再关机就比较耗时间。
窗口管理器就是一款可以一键关闭所有窗口的软件。软件左侧是当前打开的窗口,右侧是加入了白名单的窗口。

如果不想关闭哪个程序,只要选择窗口,再点【添加到白名单】即可,想要移出白名单,选择白名单列表的窗口,再点【从白名单移除】即可。

除了【一键关闭所有】窗口之外,还可以【一键全部最小化】和【一键全部最大化】
行为快照和窗口管理器
夸克:https://pan.quark.cn/s/f3fe61e7dda3
百度:https://pan.baidu.com/s/1_BN5gO4NFpwi_5seKCmozw?pwd=8888 提取码: 8888
迅雷:https://pan.xunlei.com/s/VOeEyeni96Pf2pJbcawUJGeDA1?pwd=9y67#








